2025-02-17ai02门户网
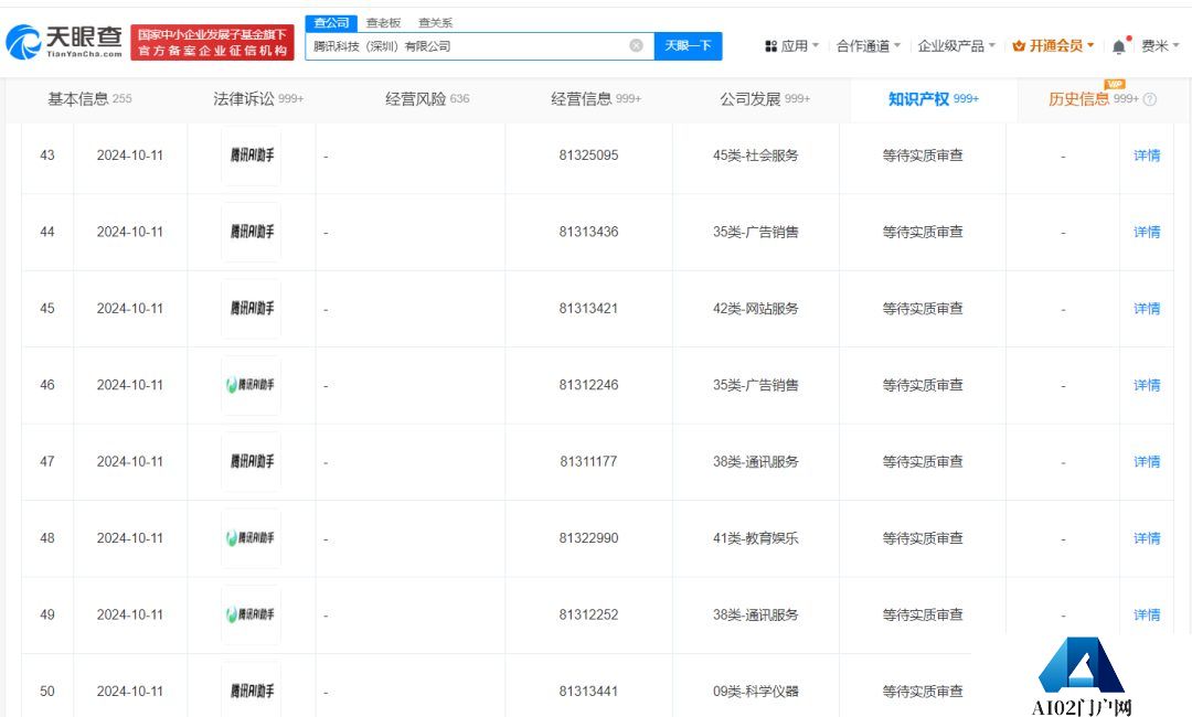
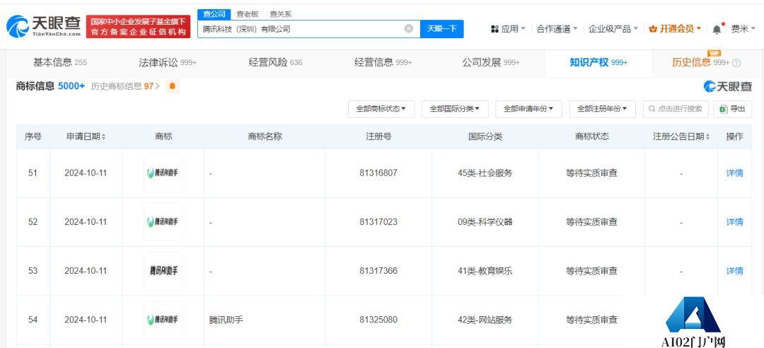
每经AI快讯,天眼查知识产权信息显示,近日,腾讯科技(深圳)有限公司申请注册多枚“腾讯AI助手”商标,国际分类包含社会服务、广告销售、网站服务等,当前商标状态均为等待实质审查。
据悉,今年5月,腾讯发布基于混元大模型的面向C端的ai助手“腾讯元宝”,其提供了AI搜索、AI总结、AI写作等核心能力。

声明:本文内容及配图由入驻作者撰写或者入驻合作网站授权转载。文章观点仅代表作者本人,不代表本站立场。文章及其配图仅供学习分享之
新品榜/热门榜